122cc太阳集成游戏(中国)股份有限公司
设为首页
|
加入收藏
智能制造与电气工程学院
首页
学院概况
学院简介
组织架构
学院领导
师资队伍
教学管理
教学活动
专业设置
学科竞赛
党政工团
党务活动
团学活动
工会活动
教研科研
学生工作
招生就业
招生简章
就业指导
校友风采
实验室与基地建设
实验室
实验实训中心
通信与物联网工程省级实验教学示范中心
机电一体化省级实验教学中心
电气工程校级综合实践示范中心
智能制造实训中心
实践基地
工作室
专升本
评建专栏
相关栏目
热点文章
首页
»
正文
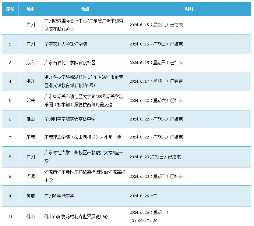
122cc太阳集成游戏2024年普通本科线下招生咨询会安排表
发布时间:2024年06月24日
来源: 122cc太阳集成游戏官网
字体大小:
小
中
大
版权所有 122cc太阳集成游戏(中国)股份有限公司
地址:十一号教学楼201 电话:020-39729794